
媒体人:CBA多支球队有意黎伊扬,湾区翼龙也在列
篮球
2023-05-26 发布

05月26日讯 据媒体人邵化谦报道,今年夏天与福建执行完A2合同的黎伊扬受到多支球队的追求,其中包括北京、北控、青岛、上海等多支CBA球队,湾区翼龙也在列。
原文如下:
今年夏天,黎伊扬与福建队的A2类合同将执行完成,多支CBA球队已经向黎伊扬伸出了橄榄枝,包括渴求本土一号位的北京、北控、青岛、上海,也包括浙江广厦,他们急需为孙铭徽找到合格的替补,甚至黎伊扬的家乡球队广东宏远,也表达了对“清远球王”的浓厚兴趣。
当然,这种时候也少不了湾区翼龙,具体原因在此就不做赘述,去年夏天湾区翼龙已经证明了,他们对朱松玮、刘传兴这样的球员有足够吸引力,尤其是在薪水方面。
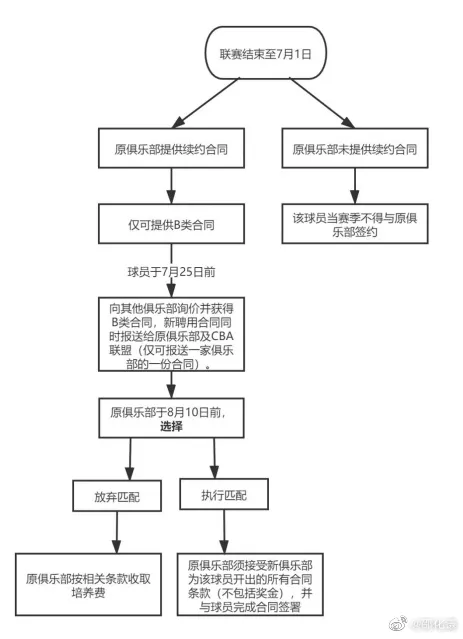
至于为什么这么多球队对黎伊扬感兴趣,还要从现行的CBA联赛球员选秀、工资帽、聘用及交易管理规定说起。按照规定,选秀球员与CBA球队签约时,可以约定到期后的续约方式,有两种,一是俱乐部提供较A2类合同期最后一年基本工资涨薪100%的B类合同,即可获得独家签约权,二是A2类合同到期后,进入匹配流程。
黎伊扬之前选择的是第二种,进入匹配流程。
此前,福建队已经向黎伊扬提供了一份B类合同,但在合同里的一些关键环节,譬如薪酬、奖金方面没能达成一致。
按照规定,黎伊扬可以向其他CBA俱乐部询价,并将获得的B类合在7月25日前报送给原俱乐部福建队及CBA公司,仅可报送一家俱乐部的一份合同。
而作为福建队而言,他们拥有匹配权,只要在8月10日前选择执行匹配权,他们依然可以留下黎伊扬。
但下赛季CBA工资帽上限为4200万元,下限1400万元,差距巨大,这也让CBA联赛里的B类合同金额有巨大差异。
福建队会否为了黎伊扬打破球队的工资体系,不久之后就要见分晓了。








